

平面光柵掃描型ICP光譜儀結構及功能分析-華普通用
平面光柵掃描式(順序式)光譜儀(Czerny-Turner型)
掃描型ICP光譜儀常用的兩種掃描型光譜儀,即光學系統Ebert-Fastic和Czerny-Turner。而多數平面光柵掃描式光譜儀采用 Czerny-Turner 光學系統。 Czerny-Turner光學系統ICP光譜儀的原理見圖1。光源經過聚焦物鏡(1)照射到狹縫(2)上,狹縫成為光源的光點,而狹縫位置放置在準直凹面鏡(3)焦點上,準直鏡反射的光平行照射到平面光柵(4)上,經平面光柵的衍射作用,使之復合光經分光形成單色光,然后單色光經聚焦凹面鏡(5)聚焦到出口狹縫(6),通過出射狹縫,單色光直接照射到檢測器(7)。檢測器可以是光電倍增管或CCD。如果用計算機改變旋轉平面光柵(4)的平臺的角度,即入射光的角度發生改變,因而出射光角度發生改變,這樣在出口狹縫就能得到從短波長至長波長一個系列的光譜。

圖1 Czerny-Turner掃描型單色儀示意圖
1—聚焦物鏡;2—入射狹縫;3—準直凹面鏡;4—旋轉平面光柵;
5—聚焦凹面鏡;6—出射狹縫;7—檢測器
對于性能優越的掃描型光譜儀需要解決既需要有高色散率、高分辨率,又需要能測量寬工作波長范圍的問題。根據上節所述平面光柵色散率與分辨率性能,提高色散率與分辨率有三個途徑:
①增大光柵的級次。這方法在平面掃描型光譜儀上不適應,因為平面光柵的結構決定它只能使用一、二級光譜,超過二級光譜其光強下降嚴重使之無法工作。
②增長物鏡的焦距,這樣儀器體積增大,運輸、安裝調試不方便,也不適合采用。
③增加光柵的刻線數,這是目前普遍采用的方法。當今,平面光柵刻線數有:4960gr/mm、4320gr/mm、3600gr/mm商品化的儀器,然而,增加平面光柵的刻線數,雖提高儀器的色散與分辨能力,但工作波長范圍進一步縮小。光柵刻線數與光譜波長范圍關系見表1。
| 光柵刻數/mm | 2400 | 3600 | 4300 | 4960 |
| 光譜范圍/nm | 160~800 | 160~510 | 160~420 | 160~372 |
| 實際分辨率/nm | ≈0.01 | ≈0.006 | ≈0.005 | ≈0.0045 |
表1 光柵刻線數與光譜波長范圍關系
解決這對矛盾常用的方法是在光路設計中安置兩塊或多塊不同光柵刻數的光柵,刻線數多的光柵,其工作波長范圍為160~458nm,用于紫外光和超紫外光波段區域的多數元素高色散率與高分辨率測定;另一塊刻線少的光柵,其工作波長范圍為485~850nm,用于光譜干擾較少的可見區域元素,如Li、Na、K等的測定。這樣既使儀器具有高色散、高分辨率又可在寬工作波長范圍下工作。
為了達到尋找分光后的分析譜線,必須使光柵角度作相應的精確變化為了提高光柵旋轉臺轉動的精密度,常見的光柵旋轉臺轉動方式有以下兩種。
第一種方式為螺紋螺桿傳動機構方式,見圖2。

圖2 螺紋螺桿傳動掃描機構
1—入射狹縫;2—準直鏡;3—光柵;4—聚光鏡;5—出射狹縫;
6—反射鏡;7—光電倍增管;8—螺桿;9—同步電機
如圖所示:步進電機帶動螺紋螺桿轉動,通過精密的螺紋的轉動,帶動螺桿的位移驅動光柵臺轉動。螺桿是一根高精密拋光的導桿它通過精密的螺紋與驅動發動機連接,在光譜儀光柵轉臺最短波處,選擇一條定位的參比線,例如:零級光譜線、Ar譜線或汞的譜線,當驅動發動機轉動后,通過計算機算出離開參比線的步數,并知道螺桿移動距離,應用正弦公式可知光柵轉動的角度。通過這種正弦桿驅動方式達到尋找譜線的目的。然而專門用這種方式還不能達到掃描高分辨率的目的。因為光柵臺移動很小的角度,波長移動仍很大,一般均采用分兩步掃描方式,首先用上面方式使光柵轉動初步定位,后在出射狹縫處作5mm內橫向位移,進行精密的掃描搜索。以達到位移步長誤差為±0.0002nm。對ICP發射光譜而言,譜線寬度一般在0.005~0.03m,要準確測量譜線峰值強度,其光柵驅動機構定位精度不能>0.001nm,使上述步移誤差值能滿足測量譜線的要求。
為達到這種要求,掃描型光譜儀必須有如下功能:
①“波長校正”的作用
實際上,儀器都存在機械和光學的缺陷,這就引起由線性計算所得的波長與實際波長之間有微小的系統偏差。該系統誤差在光譜中是隨機性的,因此在用儀器分析前,必須對它進行“波長校正”的程序。這個程序各種掃描光譜儀與軟件結合,其方式不同,但原理是一樣的。例如:以零級光譜為“參比線”,以空氣中C、O、N和Ar元素從短波段至長波段,對已知譜線的波長進行測定。通過儀器運行,計算機算出步進的距離。在測量過程中將誤差校正加在開始算出的步數上,以至于所需的分析波長能夠準確定位。當分析者提供分析元素與波長后,計算機可以通過驅動發動機,根據步進距離推算,進行自動測量。同樣,“波長校正”也可以在放置ICP光源后部安置汞燈,使用各波長區域的汞譜線進行校正。
②光柵旋轉臺機械磨損校正
無論何種形式光柵旋轉臺都屬于機械傳動裝置,長期使用都第二篇有機械磨損存在,使之產生尋峰誤差。因此在每天儀器做分析工作前,必須完成“波長校正”的程序工作,即按上述的方法,進行“尋峰測量”,將尋峰位移誤差算出的步數,反饋到計算機中進行校正。由于采用當時“校正”,這樣就能準確找到譜線,達到消除機械磨損的影響。
③譜線峰值定位
更為準確的方式峰值定位的測量方式是借助光電測量系統與軟件相結合進行工作。盡管上述方式能精密找到譜線,同時又能對波長移動進行校正。但是由于瞬時的熱變化和機械變化,峰值偏差仍然略有存在,因此不能直接對波長波峰定位測量。用上述方法搜索所需的分析線后,在其譜線附近-0.025nm距離內,按光柵驅動發動機最小步進距離,選擇9個點(或11個點),對每個點光強測量將這些點的光強度擬合到波峰的數學模式中,算出實際的波峰最高強度,以此強度為分析線信號定值。
④提高掃描式光譜儀分析速度的辦法
當輸入測試元素及分析線波長后,計算機的軟件可按波長由小到大的次序排列,在沒有譜線測量時,驅動光柵臺快速運轉(稱空載),不需測量取數。在需測量分析線時,光柵臺慢速運轉,并按上述方式測量取數。同時每次均按波長由小到大的次序排列進行測量,所以一次測定光柵臺不會反轉,節省測量時間。
⑤掃描式光譜儀瞬時測光獲得內標分析方法的手段
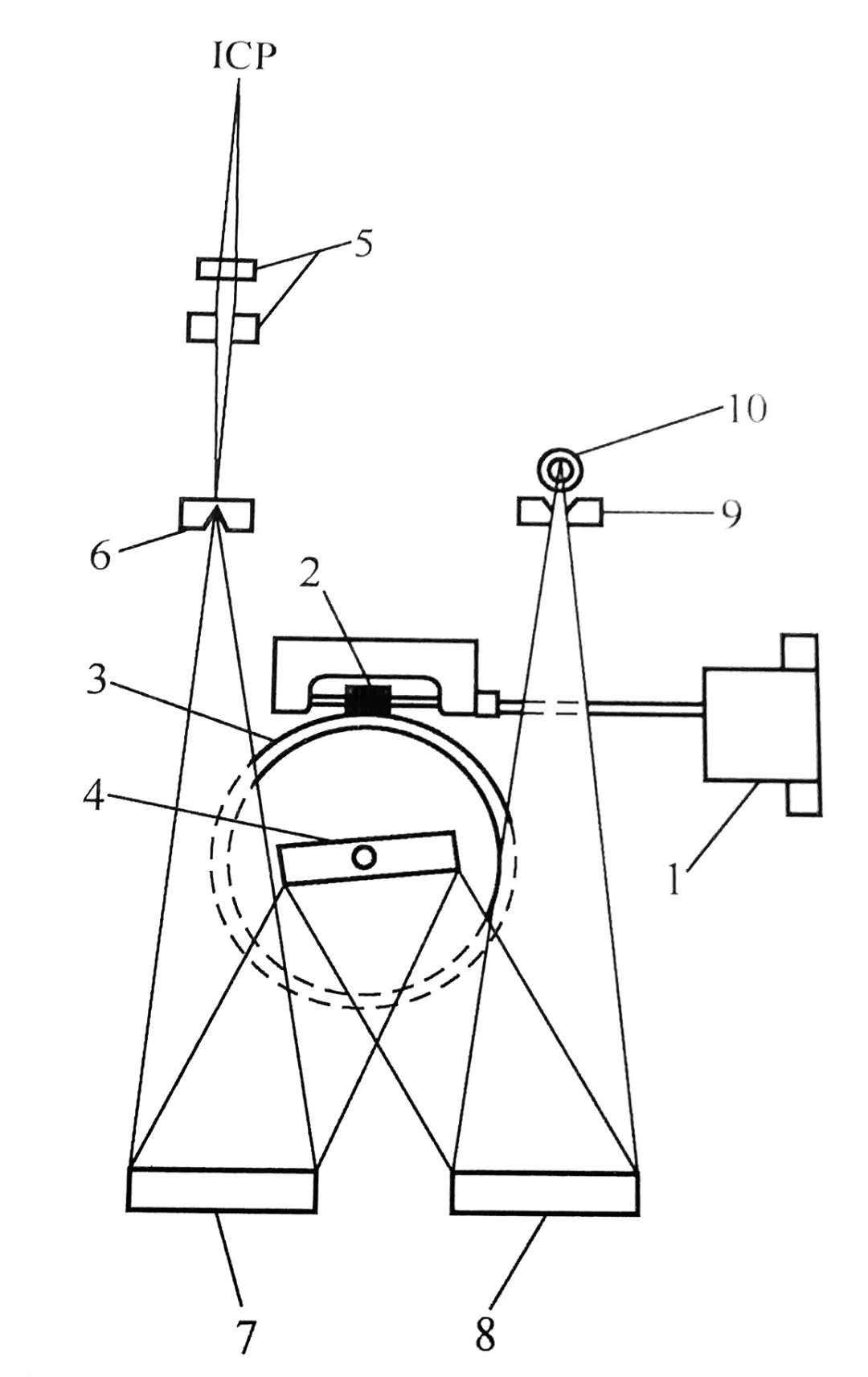
盡管ICP分析方法分析的精密度好,一般分析方法不需采用內標法,但微量分析有時需采用內標法工作,尤其是高含量的分析(>10%)時,必須采用內標分析方法。這是ICP光譜分析不可缺少的手段。掃描型的光譜儀內標工作方式,是在分光器內,加設一臺小型的內標分光器,其分光器的焦距很短,采用面積小的凹面光柵,出口狹縫采用2~3個元素的測量,此內標分光器對靈敏度無很高的要求,因為內標元素的含量可有較大變化的余地,在ICP火焰處使用光導纖維方式,使分析時一束光進入主分光器進行分析元素測定,另一束光進入內標分光器進行內標元素測定,從而達到掃描式光譜能瞬時測光獲得內標分析效果(圖3)。

圖3 附有內標分光器的掃描型光譜儀
第二種方式為蝸輪蝸桿驅動方式。圖4和圖5分別為驅動方式的原理及其實物圖。

圖4 蝸輪蝸桿光柵傳動原理圖
1—步進電機;2—蝸桿;3—蝸輪;4—光柵;5—聚光鏡;
6—入射狹縫;7—準直鏡;8—聚光反射鏡;
9—出射狹縫;10—光電倍增管

圖5 蝸輪蝸桿驅動方式實物
這種方式是將蝸輪與光柵臺直接連接,利用同步電機帶動蝸桿經過蝸輪的減速驅動光柵,同樣是改變光柵的角度,使出口狹縫光的波長獲得順序變化。它的掃描步距與掃描定位精度要求與上述基本一致。同樣需作“波長校正”定位、測定譜線的精密定位、克服機械長期運轉磨損,均需每日以“波長校正”的方式進行基本性能和需要解決的問題與上述螺螺桿傳動機構基本相同。只有某些軟件執行方式不同,例如:“參比線”不采用零級光譜線,采用汞短波長的譜線。譜線定位方式,采用寬波長范圍擬合和窄波段范圍擬合兩種定位方式等(例如Ultima ICP光譜儀)。
掃描型ICP光譜儀特征如下:
①可得到從短波至長波的線狀連續光譜,為ICP光譜理論研究提供極為有利的條件。
②可在全波段范圍內得到較高分辨率。尤其是在波長350~450nm范圍內其譜線強度強,分辨率仍然較高。這是稀土工業中,稀土金屬與稀土氧化物中稀土元素及非稀土元素測定最佳的分析儀器。而其他ICP光譜儀器做這方面工作是很艱難的。
③整個波段范圍色散率、分辨率基本一致,適應于波長表的制作與分析波長的選用同時,同一種元素各分析譜線都取在同級次光譜區,所以其強度具有可比性。而且目前出版的很多波長表及所附的光譜參數均可以應用。④這種儀器的缺點:增大分辨能力,必須增大分光器的焦距,導致儀器體積大。而增多光柵刻線數,受到很多條件限制,無法執行。另外,分析速度不如中階梯光柵固體檢測器件光譜儀快。



